Handleiding: Voordeur afstellen – rolscharnier WALA WR correct afstellen

Wat is er nodig?

  • 4 mm inbussleutel
  • 5 mm inbussleutel
  • Platte schroevendraaier
  • Rolmaat en waterpas

Overzicht voor het afstellen van rolscharnier WALA WR

Aluminium Voordeur afstellen met rolscharnier WALA WR

Hoogwaardige aluminium deuren bieden uitgebreide bescherming tegen energieverlies en inbraak. Zodat functionaliteit en veiligheid perfect samengaan, is de juiste afstelling van de deur noodzakelijk. Enerzijds direct na de montage van de Voordeur en anderzijds als regelmatige fijnafstelling om het materiaal aan te passen aan gebruiks- en weersinvloeden. In deze gids leggen we u kort en duidelijk uit wat u daarvoor nodig hebt en welke schroef bij welke afstelling hoort – ideaal als u uw Voordeur afstellen – rolscharnier WALA WR correct en veilig wilt uitvoeren.

Handleiding: Aandrukkracht afstellen - rolscharnier WALA WR

Voordeur WALA WR aandrukkracht afstellen

Bepaal hoe strak de vleugel in het kozijn zit om tocht te voorkomen. Met de vleugel geopend kunt u eenvoudig bij het middelste vleugelscharnierdeel. Hier draait u eerst de twee hoofdschroeven (1) op alle deurscharnieren los. Gebruik een 5 mm inbussleutel om de stelschroef (2) af te stellen. Door rechtsom te draaien trekt u de vleugel strakker tegen het kozijn, door linksom te draaien vergroot u de afstand. Herhaal deze handeling bij alle deurscharnieren en controleer daarna de werking. Tot slot kunt u de hoofdschroeven weer stevig vastdraaien.

Tip van de professional: Voer vóór het afstellen van de Voordeur afstellen – rolscharnier WALA WR eerst de papiertest uit, zodat u knelpunten of te grote tussenruimtes nauwkeurig kunt lokaliseren.

Handleiding: Verticale afstelling (Voordeur afstellen – rolscharnier WALA WR)

Voordeur afstellen – rolscharnier WALA WR verticaal instellen

Open voor onbelemmerde toegang tot de rolscharnieren de deurvleugel volledig. Draai met de inbussleutel de vier hoofdschroeven (1) op het bovenste en onderste kozijnscharnierdeel van elk deurscharnier los. Draai de bovenste stelschroef (2) overal eruit; nu kan de afstelling op de vleugel worden overgebracht. De onderste stelschroef (4) regelt de hoogte van de vleugel. Door een draaiing van 360° wordt de vleugel met 1,25 mm verhoogd of verlaagd. Voer de afstelling op alle scharnieren zo gelijkmatig mogelijk uit. Draai tot slot de verwijderde schroeven (2) weer in en zet de hoofdschroeven (1) stevig vast. Zo stelt u uw Voordeur afstellen – rolscharnier WALA WR nauwkeurig en professioneel af.

Tip van de professional: Gebruik bij zeer zware deurvleugels wiggen om het gewicht te verminderen.

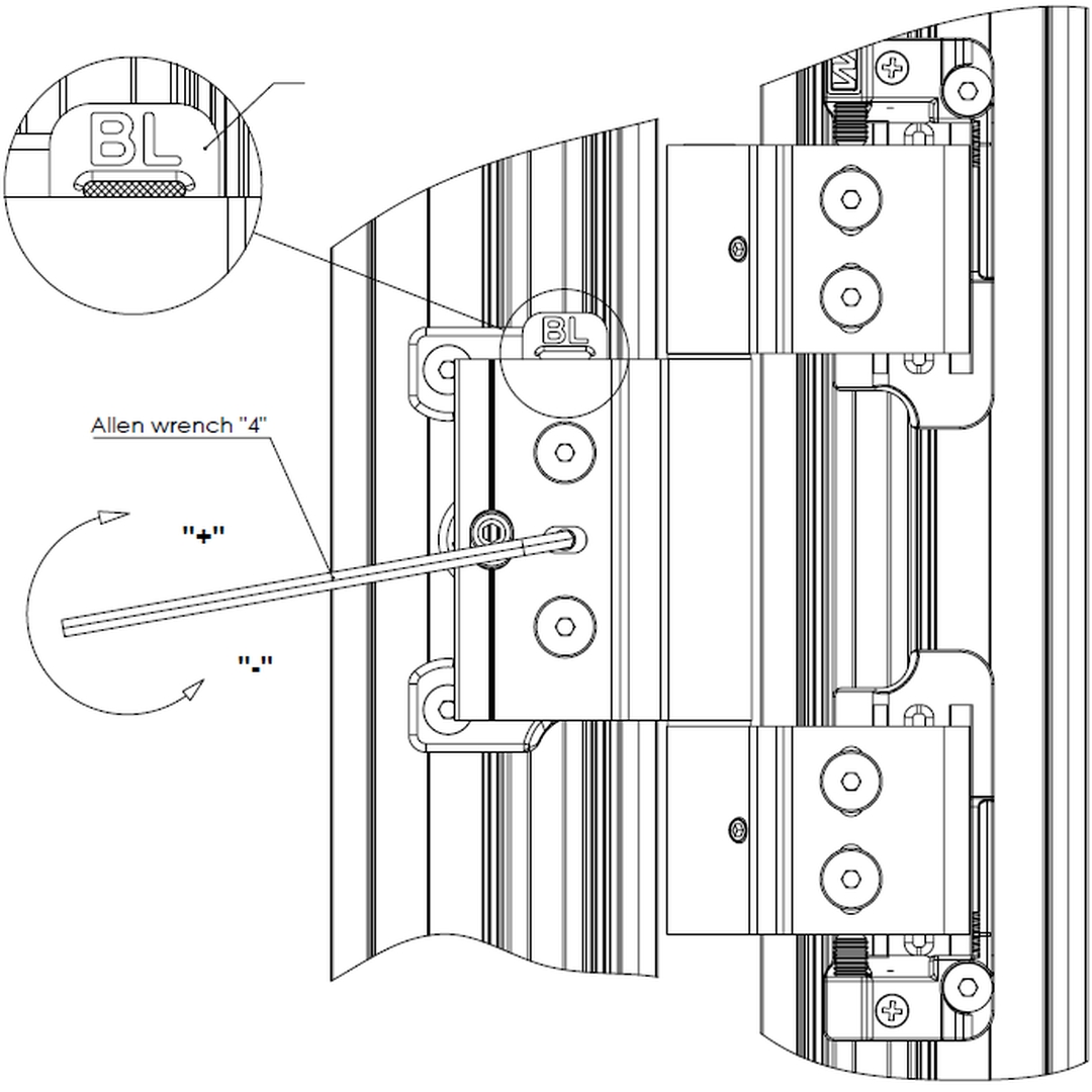
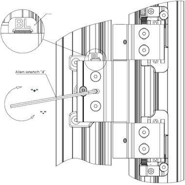
Handleiding: Horizontale afstelling (Voordeur afstellen – rolscharnier WALA WR zijdelings afstellen) - rolscharnier WALA WR

Voordeur afstellen – rolscharnier WALA WR horizontaal afstellen

Om de deurbanden zijdelings af te stellen, moet de vleugel eerst worden geopend. De stelschroef (1) bevindt zich op het middelste vleugelscharnierdeel. Plaats daar de 4 mm inbussleutel. Door naar rechts te draaien wordt de afstand tot het kozijn vergroot, door naar links te draaien wordt deze verkleind (bij een links gemonteerd scharnier). Een draaiing van 360° regelt de afstand met 1,25 mm. Herhaal deze handeling bij alle deurbanden. Met een waterpas kunt u vervolgens controleren of de vleugel loodrecht staat.

Tip van de professional: Markeer vóór het begin van de afstelwerkzaamheden de positie van de vleugel, zodat u aan de hand van de markeringen de deurbanden nauwkeurig kunt afstellen.

Dit kan u ook interesseren:

Voordeurscharnier WALA WX afstellen

Aluminium Voordeur afstellen met deurscharnier WALA WX

Ontdek in onze gids hoe aluminium Voordeuren met de deurscharnieren WALA WX worden afgesteld.

Voordeurscharnier WALA WX afstellen

Voordeurscharnier WALA AXL afstellen

Kunststof Voordeur afstellen met deurscharnier WALA AXL

Ontdek in onze gids hoe kunststof Voordeuren met de deurscharnieren WALA AXL worden afgesteld.

Voordeur afstellen – rolscharnier WALA WR