Detailzeichnungen Vorbaurollladen PST eckig 45°

Inhaltsverzeichnis:

Vorbaurollladen PST eckig 45 Grad Explosionszeichnung

Vorbaurollladen PST Explosionszeichnung

Explosionszeichnung Vorbaurollladen PST

  1. Blendklappe
  2. Kasten oben
  3. Kasten unten
  4. Gurtscheibe für Kasten
  5. Einzelführungsschiene
  6. Alu-Führungsschienenendkappe
  7. Kugellager
  8. Einlauftrichter des Profils
  9. Walzenkapsel für Achtkant-Stahlwelle
  10. Adapterring
  11. Achtkant-Stahlwelle

Vorbaurollladen PST Kastenformen Querschnitte

Vorbaurollladen PST mit Kastenhöhe 138mm

Vorbaurollladen PST 138mm

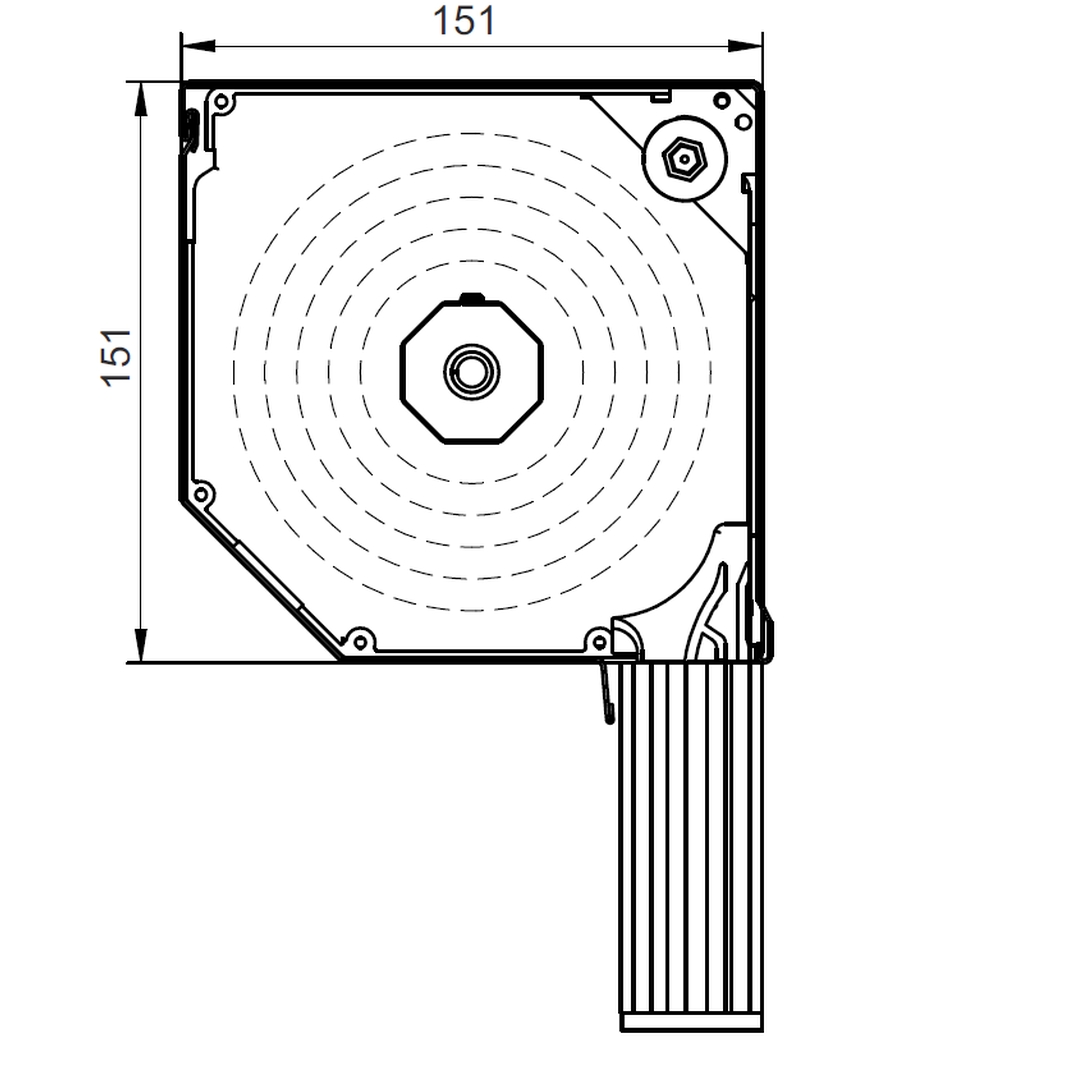
Vorbaurollladen PST mit Kastenhöhe 151mm

Vorbaurollladen PST 151mm

Vorbaurollladen PST mit Kastenhöhe 166mm

Vorbaurollladen PST 166mm

Vorbaurollladen PST mit Kastenhöhe 181mm

Vorbaurollladen PST 181mm

Vorbaurollladen PST mit Kastenhöhe 206mm

Vorbaurollladen PST 206mm

Vorbaurollladen PST Kastenformen mit Insektenschutz

Vorbaurollladen PST mit Insektenschutz 151mm

Vorbaurollladen PST mit Insektenschutz 151mm

Vorbaurollladen PST mit Insektenschutz 166mm

Vorbaurollladen PST mit Insektenschutz 166mm

Vorbaurollladen PST mit Insektenschutz 181mm

Vorbaurollladen PST mit Insektenschutz 181mm

Vorbaurollladen PST mit Insektenschutz 206mm

Vorbaurollladen PST mit Insektenschutz 206mm

Vorbaurollladen PST Einzelteile

Führungsschienen für Vorbaurollladen PST

Vorbaurollladen Führungsschiene PP 53mm

Vorbaurollladen Führungsschiene PP 53mm

Vorbaurollladen Führungsschiene PP 66mm

Vorbaurollladen Führungsschiene PP 66mm

Vorbaurollladen Führungsschiene PK 53mm mit Winkel

Vorbaurollladen Führungsschiene PK 53mm mit Winkel

Vorbaurollladen Führungsschiene 53mm PPDM Insektenschutz

Vorbaurollladen Führungsschiene PPDM 53mm Insektenschutz

Vorbaurollladen Führungsschiene 79mm PPD doppelt

Vorbaurollladen Führungsschiene PPD 79mm doppelt

Vorbaurollladen Führungsschiene 80mm PPDM Insektenschutz doppelt

Vorbaurollladen Führungsschiene PPDM 80mm Insektenschutz doppelt

Führungsschienen Endkappen für Vorbaurollladen PST

Vorbaurollladen Führungsschiene Endkappen PP 53mm P 53mm

Vorbaurollladen Führungsschiene Endkappen PP 53mm P 53mm

Vorbaurollladen Führungsschiene Endkappen PP 66mm P 66mm

Vorbaurollladen Führungsschiene Endkappen PP 66mm P 66mm

Vorbaurollladen Führungsschiene Endkappen PPD 79mm P 79mm

Vorbaurollladen Führungsschiene Endkappen PPD 79mm P 79mm

Vorbaurollladen Führungsschiene Endkappen PPDM 53mm P 53mm

Vorbaurollladen Führungsschiene Endkappen PPDM 53mm P 53mm

Führungsschienen Abdeckungen für Vorbaurollladen

Vorbaurollladen Führungsschiene N-PPDO 53mm Abdeckung rund Detail

Vorbaurollladen Führungsschiene Abdeckung N-PPDO 53mm rund Detail

Vorbaurollladen Führungsschiene Abdeckung rund doppelt Detail

Vorbaurollladen Führungsschiene Abdeckung rund doppelt Detail

Vorbaurollladen Führungsschiene Abstandsleiste Abdeckung Detail

Vorbaurollladen Führungsschiene Abstandsleiste Detail

Vorbaurollladen Führungsschiene N-PPDO 53mm Abdeckung rund

Vorbaurollladen Führungsschiene Abdeckung N-PPDO 53mm rund

Vorbaurollladen Führungsschiene Abdeckung rund doppelt

Vorbaurollladen Führungsschiene Abdeckung rund doppelt

Vorbaurollladen Führungsschiene Abstandsleiste Abdeckung

Vorbaurollladen Führungsschiene Abstandsleiste

Vorbaurollladen Führungsschiene Schnapperplatten Montage

Vorbaurollladen Führungsschiene Schnapperplatten Montage

Vorbaurollladen Führungsschiene Doppel Schnapperplatten Montage

Vorbaurollladen Führungsschiene Doppel Schnapperplatten Montage

Führungsschienen Montagebohrungen für Vorbaurollladen

Vorbaurollladen Führungsschiene Montagebohrung Typ A

Vorbaurollladen Führungsschiene Montagebohrung Typ A

Vorbaurollladen Führungsschiene Montagebohrung Typ B

Vorbaurollladen Führungsschiene Montagebohrung Typ B

Vorbaurollladen Führungsschiene Montagebohrung Typ C

Vorbaurollladen Führungsschiene Montagebohrung Typ C

Rollladenpanzer Lamellen (Profile)

Lamelle PA39 Alu technische Zeichnung

Rollladenprofil PA 39mm (Alu)

Lamelle PA45 Alu technische Zeichnung

Rollladenprofil PA 45mm (Alu)

Lamelle PA52 Alu technische Zeichnung

Rollladenprofil PA 52mm (Alu)

Vorbaurollladen Endleisten (Abschlussleisten)

Rollladen Endleiste 35mm Mini für Aluminium-Panzer Detail

Rollladenpanzer Endleiste LD 35mm Mini

Rollladen Endleiste 37mm für Aluminium-Panzer Detail

Rollladenpanzer Endleiste LD 37mm

Vorbaurollladen Antriebsbohrungen

Vorbaurollladen Antriebsbohrungen Gurtausgang

Vorbaurollladen Antrieb Ausgang Typ A

Vorbaurollladen Antrieb Ausgang Typ A

Vorbaurollladen Antrieb Ausgang Typ A Schema

Vorbaurollladen Antrieb Ausgang Typ A Schema

Vorbaurollladen Antrieb Ausgang Typ B

Vorbaurollladen Antrieb Ausgang Typ B

Vorbaurollladen Antrieb Ausgang Typ B Schema

Vorbaurollladen Antrieb Ausgang Typ B Schema

Vorbaurollladen Antrieb Ausgang Typ C

Vorbaurollladen Antrieb Ausgang Typ C

Vorbaurollladen Antrieb Typ Ausgang C Schema

Vorbaurollladen Antrieb Ausgang Typ C Schema

Vorbaurollladen Antrieb Ausgang Typ D

Vorbaurollladen Antrieb Ausgang Typ D

Vorbaurollladen Antrieb Ausgang Typ D Schema

Vorbaurollladen Antrieb Ausgang Typ D Schema

Vorbaurollladen Antriebsbohrungen Kabelausgang

Vorbaurollladen Antrieb Ausgang Typ A

Vorbaurollladen Antrieb Ausgang Typ A

Vorbaurollladen Antrieb Ausgang Typ B

Vorbaurollladen Antrieb Ausgang Typ B

Vorbaurollladen Antrieb Ausgang Typ C

Vorbaurollladen Antrieb Ausgang Typ C

Vorbaurollladen Antrieb Ausgang Typ D

Vorbaurollladen Antrieb Ausgang Typ D

Vorbaurollladen Antriebsbohrungen Kurbelausgang

Vorbaurollladen Antrieb Ausgang Typ B

Vorbaurollladen Antrieb Ausgang Typ B

Vorbaurollladen Antrieb Ausgang Typ D

Vorbaurollladen Antrieb Ausgang Typ D

Vorbaurollladen Antrieb Ausgang Typ Revisionsklappe

Vorbaurollladen Antrieb Ausgang Typ Revisionsklappe

Vorbaurollladen Antriebsbohrungen mit Nothandkurbel

Vorbaurollladen Antrieb Ausgang Typ B

Vorbaurollladen Antrieb Ausgang Typ B

Vorbaurollladen Antrieb Ausgang Typ D

Vorbaurollladen Antrieb Ausgang Typ D

Vorbaurollladen Antrieb Ausgang Typ Revisionsklappe

Vorbaurollladen Antrieb Ausgang Typ Revisionsklappe

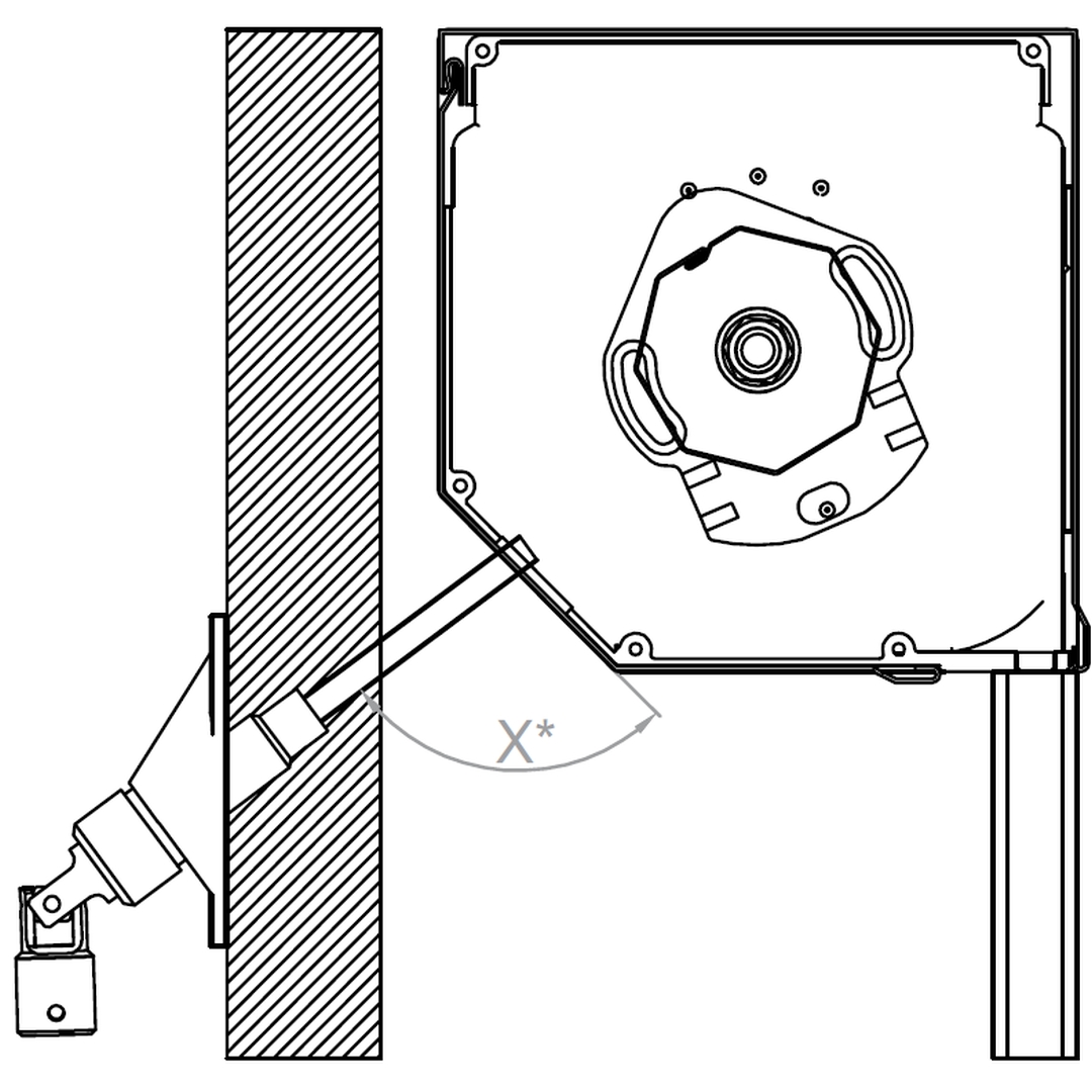
Vorbaurollladen Montagearten

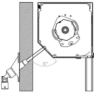
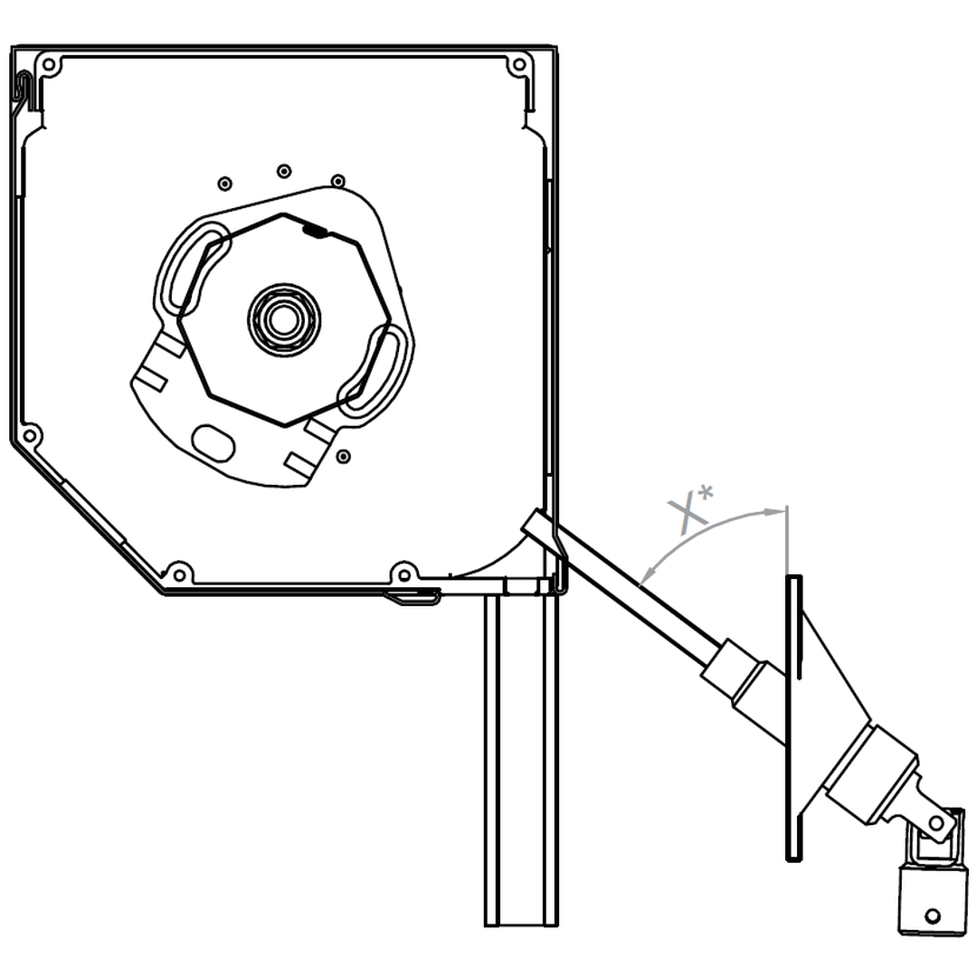
Vorbaurollladen Führungsschienen PST - Einbaubeispiel 1:

Vorbaurollladen Führungsschiene PP 53mm Montage Typ A

Vorbaurollladen Führungsschiene PP 53mm Montage Typ A

Vorbaurollladen Führungsschiene PK 53mm Montage Typ C

Vorbaurollladen Führungsschiene PK 53mm Montage Typ C

Vorbaurollladen Führungsschienen PST - Einbaubeispiel 2:

Vorbaurollladen Führungsschiene PP 53mm PPD 79mm Montage Typ B

Vorbaurollladen Führungsschiene PP 53mm PPD 79mm Montage Typ B

Vorbaurollladen Führungsschiene PP 53mm Montage Typ B

Vorbaurollladen Führungsschiene PP 53mm Montage Typ B

Vorbaurollladen Führungsschiene PPDM 53mm PPDM 80 Montage Typ B

Vorbaurollladen Führungsschiene PPDM 53mm PPDM 80mm Montage Typ B

Weiter zur Produktseite Vorbaurollladen PST eckig 45°

Drutex Fensterlieferung

Kostenlose Lieferung

Ab einer Bestellung von 10 Fenstern deutschlandweit!

Jetzt Angebot für Vorbaurollladen anfordern

Das könnte Sie auch interessieren:

Vorbaurollladen PRL viertelrund

Detailzeichnungen Vorbaurollladen PRL

Vorbaurollladen PRL mit einer viertelrunden Kastenform ist ideal für die Montage in der Laibung geeignet.

Detailzeichnungen Vorbaurollladen PRL

Vorbaurollladen POL extrudiert

Detailzeichnungen Vorbaurollladen POL

Vorbaurollladen POL mit Rundkasten ist ideal zum Nachrüsten auf die Fassade geeignet.

Detailzeichnungen Vorbaurollladen POL