Detailzeichnungen Vorbau-Raffstore Drutex ZF-A

Inhaltsverzeichnis:

Vorbau-Raffstore Drutex ZF-A Kasten Querschnitte (Fassadenjalousie)

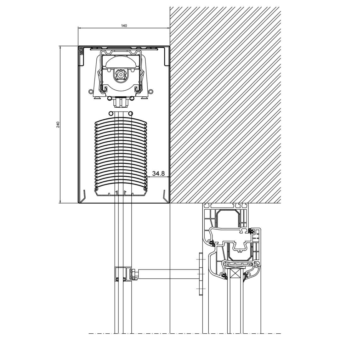
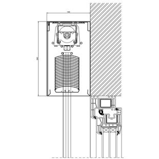
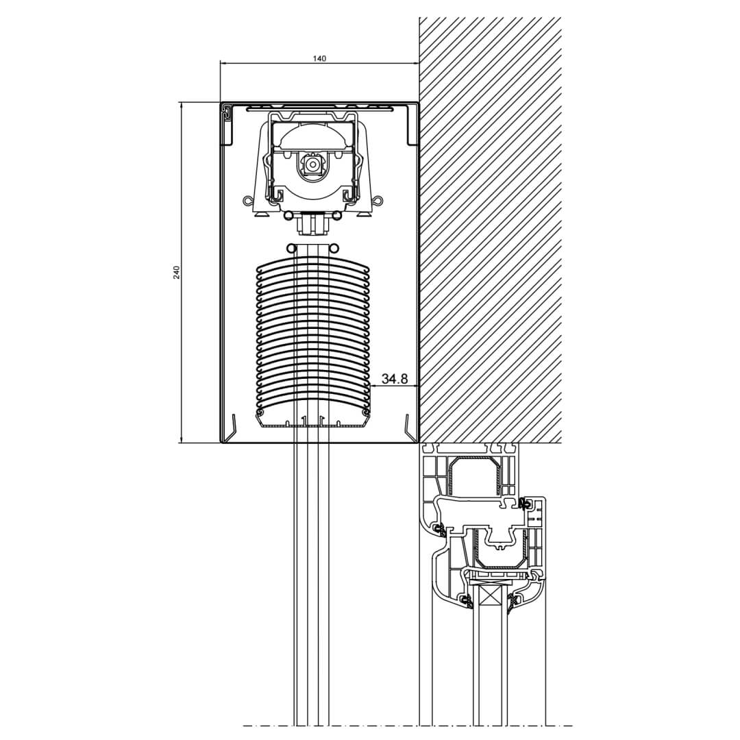
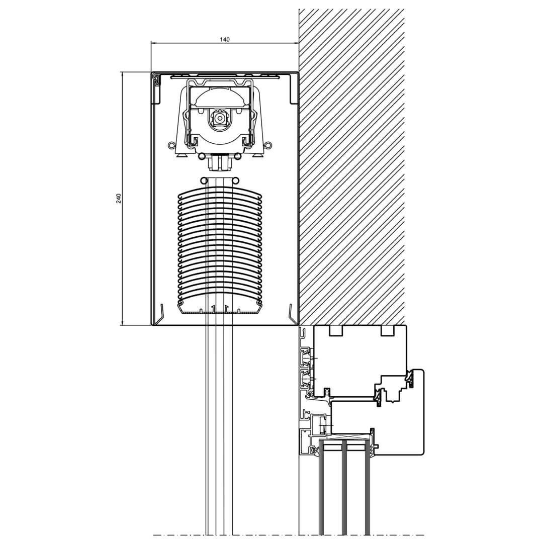
Vorbau-Raffstore Drutex ZF-A - Kastenhöhe 240mm

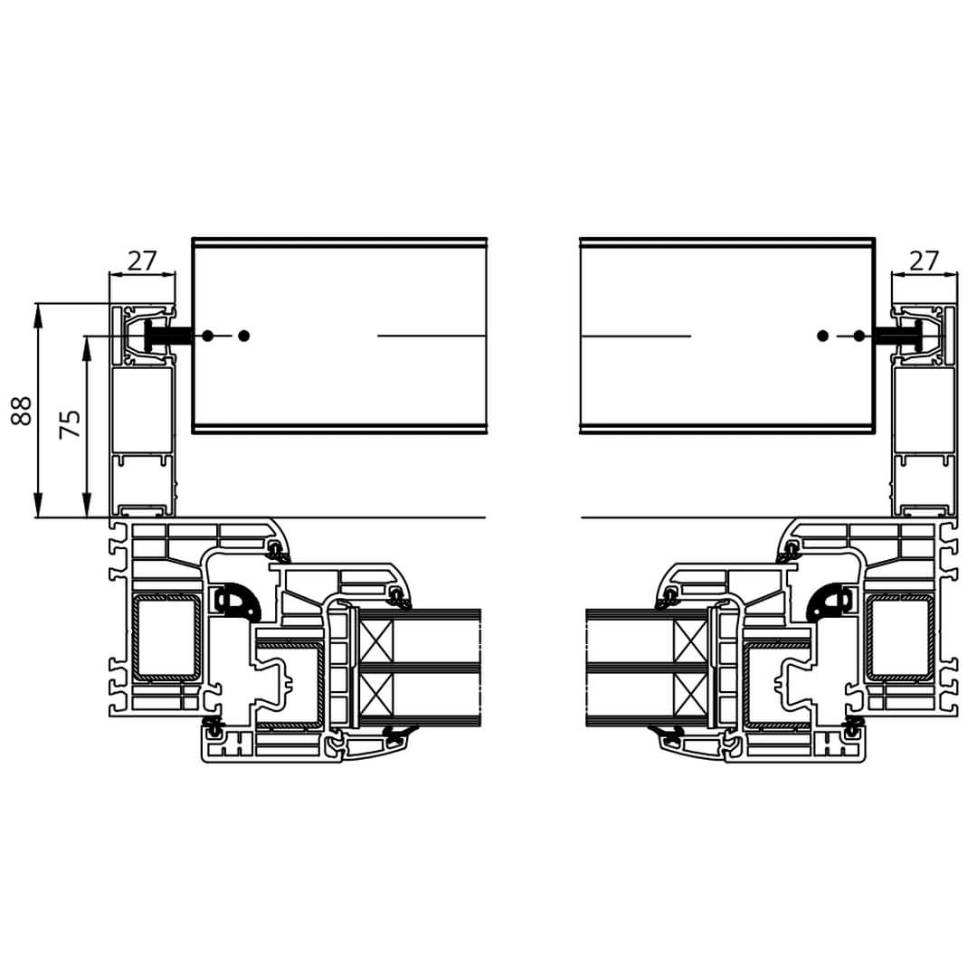
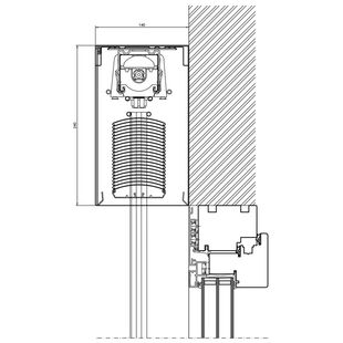
Raffstorekasten ZF-A 240 - Rahmen Iglo 5

Raffstorekasten ZF-A 240 - Rahmen Iglo 5

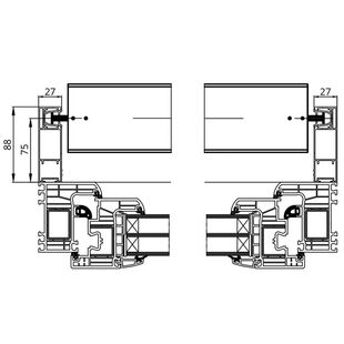
Raffstorekasten ZF-A 240 - Rahmen Iglo Energy

Raffstorekasten ZF-A 240 - Rahmen Iglo Energy

Raffstorekasten ZF-A 240 - Rahmen Duoline

Raffstorekasten ZF-A 240 - Rahmen Duoline

Raffstorekasten ZF-A 240 - Rahmen Iglo 5 Führungsschiene Teleskop

Raffstorekasten ZF-A 240 - Rahmen Iglo 5 Führungsschiene Teleskop

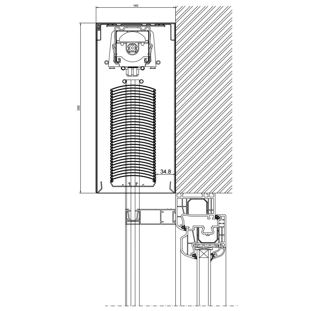
Vorbau-Raffstore Drutex ZF-A - Kastenhöhe 300mm

Raffstorekasten ZF-A  300 - Rahmen Iglo 5

Raffstorekasten ZF-A 300 - Rahmen Iglo 5

Raffstorekasten ZF-A  300 - Rahmen Iglo Energy

Raffstorekasten ZF-A 300 - Rahmen Iglo Energy

Raffstorekasten ZF-A  300 - Rahmen Iglo HS

Raffstorekasten ZF-A 300 - Rahmen Iglo HS

Vorbau-Raffstore Drutex ZF-A Einzelteile

Führungsschienen für Vorbau-Raffstore Drutex ZF-A

Raffstore Führungsschiene ZF-A

Raffstore Führungsschiene ZF-A

Raffstore Lamellen (Profile)

Raffstore Lamelle C80

Lamellentyp C80

Raffstore Lamelle C80F Flach

Lamellentyp C80F Flach

Buitenjaloezieën op maat configureren

Buitenjaloezieën eenvoudig en comfortabel online configureren en bestellen bij kozijnenblik.nl!

Das könnte Sie auch interessieren:

Raffstore Drutex ZF-S

Detailzeichnungen Raffstoer Drutex ZF-S 365 Iglo Energy

Raffstore-Systeme Drutex ZF-S mit optimaler Wärmedämmung.

Detailzeichnungen Raffstore Drutex ZF-S

Raffstore Aluprof SKEF

Detailzeichnungen Vorbau-Raffstore Aluprof SKEF 205

Flexibles Vorbau-Raffstore-System Aluprof SKEF.

Detailzeichnungen Raffstore Aluprof SKEF