Detailzeichnungen Raffstore CleverBox

Inhaltsverzeichnis:

Raffstore CleverBox mit Führungsschienen Querschnitte

Raffstore CleverBox mit Führungsschiene Typ 2

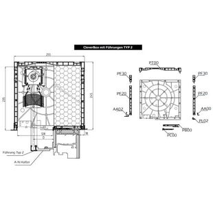
Raffstore CleverBox Führungsschiene Typ 2 Querschnitt

Raffstore CleverBox Führungsschiene Typ 2 Querschnitt

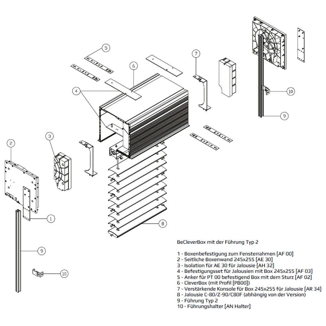
Raffstore CleverBox Führungsschiene Typ 2 Explosionszeichnung

Raffstore CleverBox Führungsschiene Typ 2 Explosionszeichnung

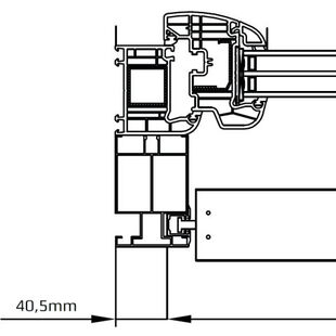
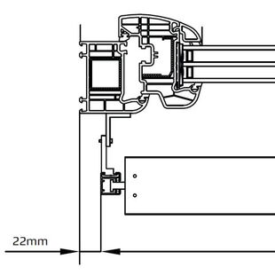
Führungsschiene Typ 2 Montage Fensterrahmen

Führungsschiene Typ 2 Montage Fensterrahmen

Raffstore CleverBox mit Führungsschiene Typ PG10

Raffstore CleverBox Führungsschiene Typ PG10 Querschnitt

Raffstore CleverBox Führungsschiene Typ PG10 Querschnitt

Raffstore CleverBox Führungsschiene Typ PG10 Explosionszeichnung

Raffstore CleverBox Führungsschiene Typ PG10 Explosionszeichnung

Führungsschiene PG10 Montage Fensterrahmen

Führungsschiene PG10 Montage Fensterrahmen

Raffstore CleverBox mit Führungsschiene Typ 8 PT Unterputz

Raffstore CleverBox Führungsschiene Typ PT Querschnitt

Raffstore CleverBox Führungsschiene Typ PT Querschnitt

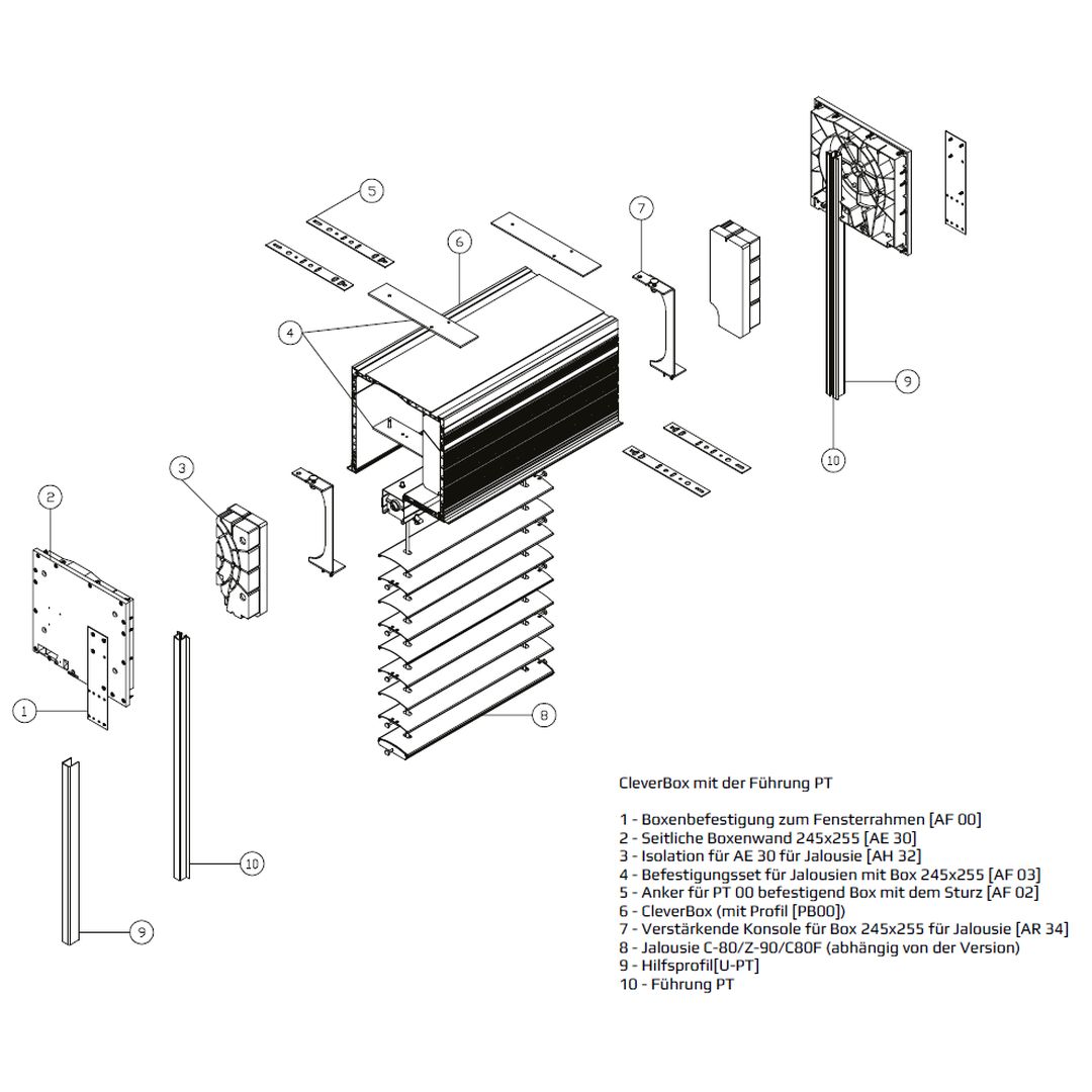
Raffstore CleverBox Führungsschiene Typ PT Explosionszeichnung

Raffstore CleverBox Führungsschiene Typ PT Explosionszeichnung

Führungsschiene Typ 8 PT Montage Fensterrahmen

Führungsschiene Typ 8 PT Montage Fensterrahmen

Raffstore CleverBox Einzelteile

Lamellenformen und -typen für Raffstore

Raffstore Lamelle C80

Lamellentyp C80

Raffstore Lamelle C80F Flach

Lamellentyp C80F Flach

Raffstore Lamelle Z90

Lamellentyp Z90

Arretierung von Lamellen

Raffstore Lamellen Arretierung ARET 2

Arretierung ARET 2 - Standard

Raffstore Lamellen Arretierung ARET 5

Arretierung ARET 5

Führungsschienen Querschnitte

Führungsschiene Typ 2 mit Distanzhalter Typ N Querschnitt

Führungsschiene Typ 2 mit Distanzhalter Typ N

Führungsschiene Typ PG10 Querschnitt

Führungsschiene Typ PG10

Führungsschiene Typ 8 PT Unterputz Querschnitt

Führungsschiene Typ 8 PT Unterputz

Buitenjaloezieën op maat configureren

Buitenjaloezieën eenvoudig en comfortabel online configureren en bestellen bij kozijnenblik.nl!

Das könnte Sie auch interessieren:

Raffstore SKB Styroterm

Detailzeichnungen Raffstoer SKB Styroterm

Raffstore-Systeme SKB Styroterm - Flexible Beschattung und effektive Dämmung.

Detailzeichnungen Raffstore SKB Styroterm

Raffstore EO allgemein

Detailzeichnungen Raffstoer EO allgemein

Raffstore-Systeme EO ideal zum Nachrüsten.

Detailzeichnungen Raffstore EO allgemein