Detailzeichnungen Aluminiumfenster MB-45

Inhaltsverzeichnis:

Aluminiumfensterprofil MB-45 Querschnitte

Drutex MB 45 Fensterprofil Festverglasung Detailzeichnung

MB-45 Fenster Festverglasung

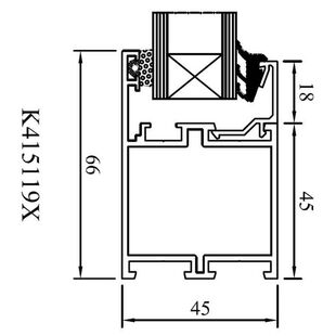
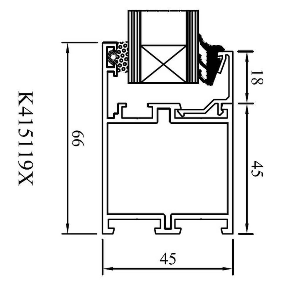
Drutex MB 45 Fensterprofil Rahmen mit Flügel Detailzeichnung

MB-45 Fenster Rahmen mit Flügel

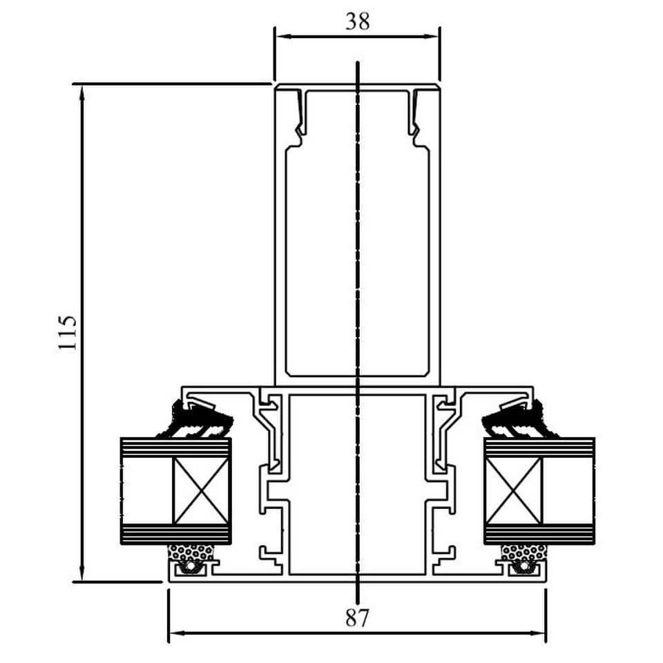
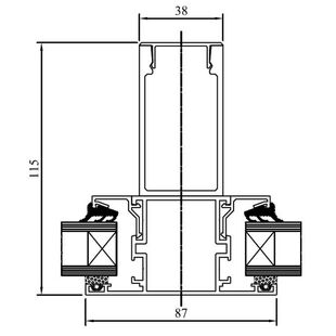
Drutex MB 45 Pfosten für Zweiflüglig Detailzeichnung

MB-45 Fenster mit Pfosten

Drutex MB 45 Stulpfenster Profil Detailzeichnung

MB-45 Fenster mit Stulp

Drutex MB 45 Pfosten mit Dreh-Kipp/Fest Detail

MB-45 Pfosten mit Dreh-Kipp/Fest

Aluminiumfenster MB-45 Sprossenarten

Innenliegende SZR Sprossen / Helima Sprossen

Drutex Iglo SZR Sprosse 8mm

Innenliegende Sprosse 8mm

Drutex Iglo SZR Sprosse 18mm

Innenliegende Sprosse 18mm

Drutex Iglo SZR Sprosse 26mm

Innenliegende Sprosse 26mm

Drutex Iglo SZR Sprosse 45mm

Innenliegende Sprosse 45mm

Glasteilende Sprossen - Kämpfer

Drutex MB 45 Kämpfersprosse Detailzeichnung

MB-45 Glasteilende Sprosse/Kämpfer

Drutex MB 45 Statisches Profil innen Detailzeichnung

MB-45 Kämpfer mit statischem Profil innen

Drutex MB 45 Statisches Profil außen Detailzeichnung

MB-45 Kämpfer mit statischem Profil außen

Aluminiumprofil MB-45 Rahmenverbreiterung

Drutex MB 45 29mm Rahmenverbreiterung Detailzeichnung

MB-45 Rahmenverbreiterung 29mm

Drutex MB 45 56mm Rahmenverbreiterung Detailzeichnung

MB-45 Rahmenverbreiterung 56mm

Aluminiumprofil MB-45 Kopplungen

Drutex MB 45 H-Kopplungsprofil mit Rundschnur Detailansicht

MB-45 H-Kopplung mit Rundschnur

Drutex MB 45 Kopplungsdehnungsprofil Detailansicht

MB-45 Kopplungsdehnungsprofil

Drutex MB 45 Eckprofil 90° Detailansicht

MB-45 Eckkopplung 90°

Drutex MB 45 Eckprofil 135° Detailansicht

MB-45 Eckkopplung 135°

Drutex MB 45 Eckverbinder Variabel Detailansicht

MB-45 Eckkopplung Variabel

Drutex MB 45 Eckverbinder Variabel Tabelle Detailansicht

MB-45 Eckkopplung Variabel Tabelle

Aluminium MB-45 Balkontür

Öffnungsrichtung nach innen

Drutex MB 45 Balkontür nach innen Detailzeichnung Profil

MB-45 Balkontür nach innen

Drutex MB 45 Balkontür nach innen Detail Pfosten DK/Fest

MB-45 Balkontür nach innen mit Pfosten Dreh-Kipp/Fest

Drutex MB 45 Balkontür innen Pfosten Statisch DK Fest

MB-45 Balkontür nach innen mit statischem Pfosten

Öffnungsrichtung nach außen

Drutex MB 45 Balkontür nach aussen Detailzeichnung Profil

MB-45 Balkontür nach außen

Drutex MB 45 Balkontür nach außen Detail Pfosten DK/Fest

MB-45 Balkontür nach außen mit Pfosten Dreh-Kipp/Fest

Drutex MB 45 Balkontür außen Pfosten Statisch DK Fest

MB-45 Balkontür nach außen mit statischem Pfosten

Aluminium MB-45 Schiebetür

Drutex MB 45 Schiebetür Flügel Boden

MB-45 Schiebetür Flügel Boden

Drutex MB 45 Schiebetür Flügel Oben

MB-45 Schiebetür Flügel Oben

Drutex MB 45 Schiebetür Flügel Treffpunkt

MB-45 Schiebetür Treffpunkt der Flügel

Aluminium MB-45 Schwingtür

Drutex MB 45 Schwingtür Flügel Boden Detailzeichnung

MB-45 Schwingtür Flügel Boden

Drutex MB 45 Schwingtür Flügel Oben

MB-45 Schwingtür Flügel Oben

Drutex MB 45 Schwingtür Flügel Treffpunkt

MB-45 Schwingtür Treffpunkt der Flügel

Aluminium MB-45 Tür

Öffnungsrichtung nach innen

Drutex MB 45 Tür nach innen Rahmen Detailzeichnung

MB-45 Tür nach innen Rahmenprofil

Drutex MB 45 Tür nach innen Schwelle mit Wölbung Detailzeichnung

MB-45 Tür nach innen Schwelle mit Wölbung

Drutex MB 45 Tür mit Stulp Detailzeichnung

MB-45 Tür mit Stulp

Öffnungsrichtung nach außen

Drutex MB 45 Tür nach außen Rahmen Detailzeichnung

MB-45 Tür nach außen Rahmenprofil

Drutex MB 45 Tür nach außen Schwelle mit Wölbung Detailzeichnung

MB-45 Tür nach außen Schwelle mit Wölbung

Technische Daten - Aluminiumfenster Drutex MB-45
Weiter zur Produktseite Alufenster MB-45

Gratis levering

Bij een bestelling van 10 ramen of meer in Nederland!

Vraag nu een offerte aan voor aluminium kozijnen

Das könnte Sie auch interessieren:

Aluminiumfenster MB-70

Detailzeichnungen Aluminiumfenster MB-70

Aluminiumfenster MB-70 besitzen eine breiteres Profil mit mehr Kammern

Aluminiumfenster MB-86 SI

Detailzeichnungen Aluminiumfenster MB-86 SI

Aluminiumfenster MB-86 SI verfügen über eine sehr gute Wärmedämmung