Panoramaraam 3-delig van aluminium

Kozijnraam

Het kozijnraam kenmerkt zich door zijn bijzonder smalle raamprofiel. Met het kozijn wordt het vaste, niet-beweegbare deel van het raam bedoeld dat stevig in het metselwerk is gemonteerd. In tegenstelling tot het vleugelprofiel kan het kozijn niet worden geopend of verplaatst. Wanneer een raam als vaste beglazing wordt uitgevoerd, betreft dit altijd een ruit die in een kozijn is geplaatst. Daardoor zijn kozijnramen bij uitstek geschikt als vaststaande gevelramen.

Wat is een kozijn bij een raam?

Fenster Blendrahmen beim Profil Iglo Energy

Als kozijn wordt het deel van het raamkozijn aangeduid dat vast met de buitenmuur is verbonden. Gangbare ramen bestaan zowel uit een kozijn als uit raamvleugels. Het vleugelprofiel bevat daarbij altijd de beglazing en is meestal beweegbaar.

Met een openingsfunctie, zoals bijvoorbeeld de draaikiepstand, kan het raam worden geopend en bewogen. Daarnaast is ook vaste beglazing in de vleugel mogelijk.

Kozijnramen kunnen ook zonder vleugelprofiel worden uitgevoerd. In dat geval wordt de beglazing direct in het kozijn gemonteerd. Logischerwijs gaat het dan bij het kozijnraam om een vaste beglazing in het kozijn. Het voordeel ten opzichte van ramen met vleugels: het profiel kan aanzienlijk slanker worden vormgegeven en laat daardoor veel meer daglicht binnen.

Ramen met kozijn in verschillende materialen

Opbouw van een kozijnraam

Houten raam Softline 88 met 2 vleugels en stijl
Houten raam Softline 88 met 2 vleugels en stijl

De term kozijn is afgeleid van het begrip „afwerken“ (verblenden), waarmee ook de oorspronkelijke functie van het kozijn wordt verklaard. Het doel was vooral om de overgang tussen metselwerk en raam af te dekken en visueel af te werken. De belangrijkste taak van het kozijn is echter het zorgen voor een duurzame en stabiele bevestiging van het raam in het metselwerk.

Het kozijn bestaat uit de volgende onderdelen:

  • bovendorpel (boven)
  • waterslag (onder)
  • twee stijlen (zijkanten)
  • bij meerdere vleugels: tussenstijl (verticaal)
  • bij een verdeling in boven- & onderlicht: stijl/tussenregel/dwarsregel (horizontaal)

Bij gangbare standaardramen wordt het kozijn via raambeslag met het vleugelprofiel verbonden. Wanneer de raamvleugel wordt gesloten, sluit deze direct aan op het kozijn.

Mooie beelden van vast beglaasde kozijnramen

Kozijnramen op maat

Eenvoudig en comfortabel kozijnramen tegen scherpe prijzen online configureren en bestellen bij kozijnenblik.nl

Ramen met een kozijnverbreding

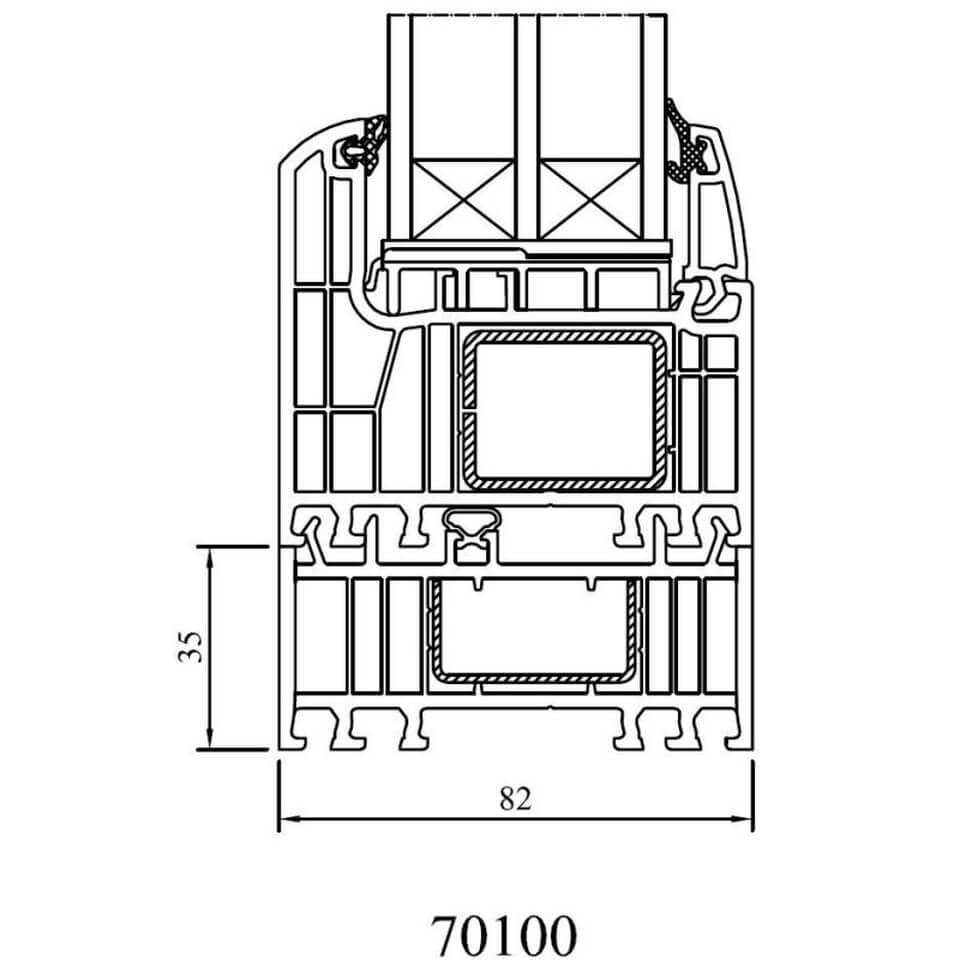
Iglo Energy profiel met kozijnverbreding van 35 mm

Afhankelijk van de bouwsituatie kan het nodig zijn om een kozijnverbreding voor ramen toe te passen. Voorbeelden hiervan zijn bestaande bouw met aanslagen of nieuwbouwwoningen waarbij de vloeropbouw nog moet worden gerealiseerd.

Kozijnverbredingen zijn aanvullende profielen die rondom op het kozijn kunnen worden gemonteerd en in verschillende afmetingen verkrijgbaar zijn. Afhankelijk van het profielsysteem zijn de verbredingen beschikbaar in diverse maten. Bovendien kunnen meerdere verbredingen met elkaar worden gecombineerd om de gewenste verbredingsmaat te bereiken.

Gratis levering

Bij een bestelling van 10 ramen of meer in Nederland!

Vraag nu een offerte aan voor kunststof kozijnen