Falz-Schnitte / Fensterbankfräsungen für Holzfenster und -türen

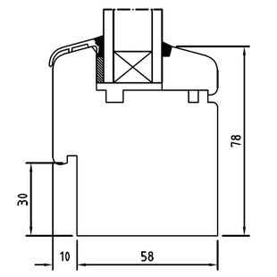
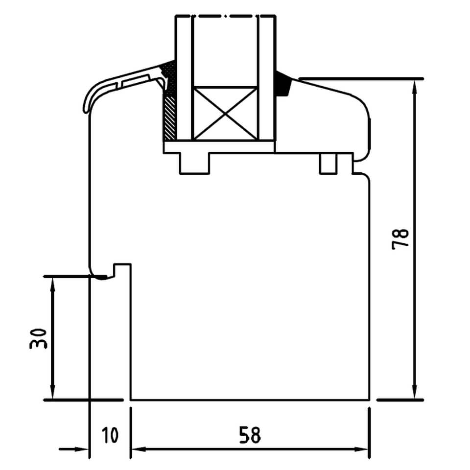
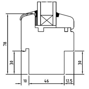
Holzfenster mit Standardfalz
Holzfenster mit Standardfalz

Für unsere Holzfenster DRUTEX Softline-68 stehen verschiedene Falzschnitte/Fensterbankfräsungen zur Auswahl.

Im Gegensatz zu den Kunststofffenstern werden für die Holzfenster keine Anschlussprofile als zusätzliches Element angeboten, sondern eine Vielzahl den möglichen Falz Schnitten. Dieser kann beidseitig gefräst werden oder je nach Wunsch nur einseitig innen oder außen. Unsere technischen Zeichnungen geben dazu die genauen Maße an.

Auf Wunsch ist selbstverständlich das Holzprofil auch ohne Falz erhältlich oder mit einer vorbereiteten Falz für die Federkopplung. Sprechen Sie uns gerne an. Wir beraten Sie gern, welche Lösung für Sie die richtige ist.

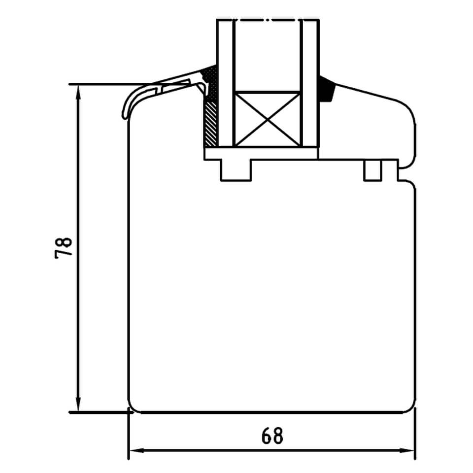
Holzfenster mit Anschlussfräsung individuell nach Maß

Einfach Holzfenster mit Falz-Schnitt günstig online konfigurieren und bestellen bei fensterblick.de

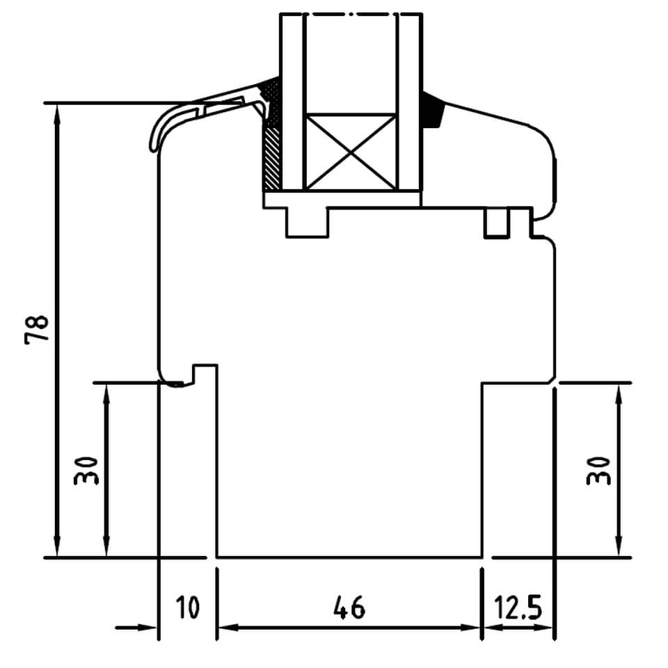
Varianten von Falz-Schnitten / Bankanschlussfräsungen

Bei der Auswahl einer Fensterbankfräsung verändern sich die Maße der Holzfenster und -türen nicht, da die Fräsung direkt am Rahmen vorgenommen wird.

Gratis levering

Bij een bestelling van 10 ramen of meer in Nederland!

Vraag nu een offerte aan voor houten kozijnen