Holzfenster mit Oberlicht und Sprossen

Glasteilende Sprossen aus Holz - Die Kämpfer-Sprosse

Zeitlose Funktionalität – die glasteilende Sprosse! Ursprünglich wurden Sprossen als Hilfsmittel genutzt, um kleine Glasstücke zu großen Flächen zusammensetzen zu können. Heute ist die Not zur Tugend geworden, denn ausgefallene Sprossenmuster sind eine ideale Möglichkeit den individuellen Stil des Hauses zu prägen. Dabei stellen glasteilende Sprossen aus Holz den Klassiker dar. Sie teilen das Glas buchstäblich und ermöglichen so große und stabile Konstruktionen auch bei schweren Holzrahmen.

Varianten von glasteilenden Holz Sprossen

Die echte Sprosse – funktionell und farbenfroh

Holzfenster mit Kämpfer-Sprossen und Zierleisten in Moosgrün

Riesige Glasflächen sind mittlerweile weder eine große Herausforderung noch eine Seltenheit. Dank moderner Produktionsanlagen können problemlos mehre Quadratmeter hergestellt werden. Doch was im Werk stabil erscheint, kann in der Praxis leicht zu Bruch gehen.

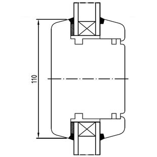
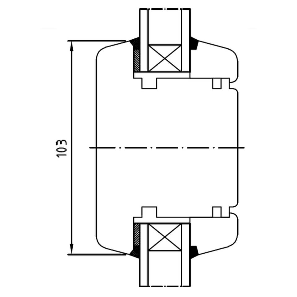
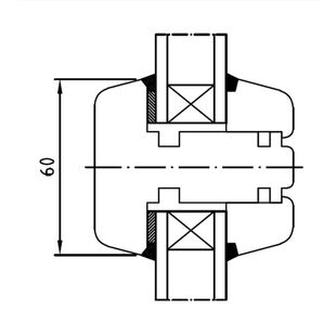
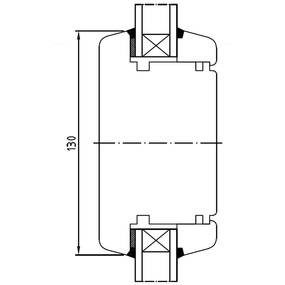
Glasteilende Kämpfer bieten Ihnen verlässliche Stabilität bei großen und schweren Konstruktionen und dienen zusätzlich als Gestaltungselement. So können gerade bei Balkon- und Terrassentüren die Maximalbreiten mit stabilisierenden Kämpfer-Sprossen erweitert werden.

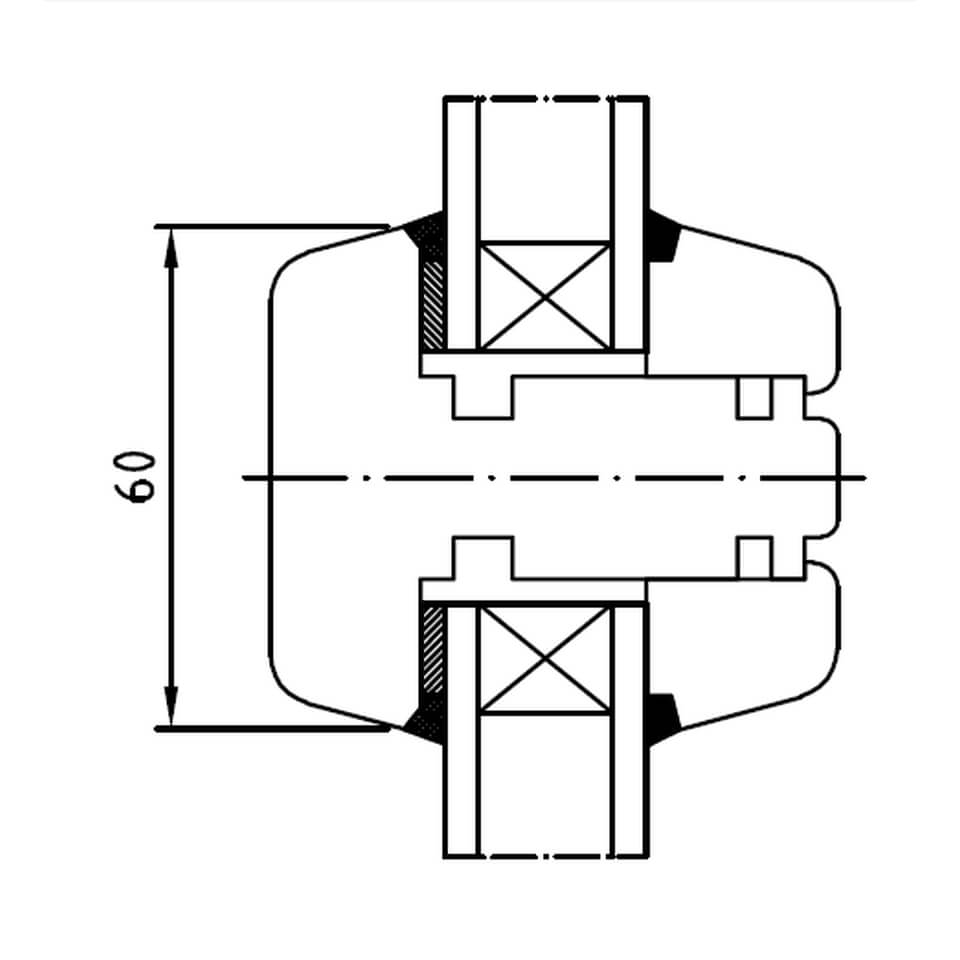
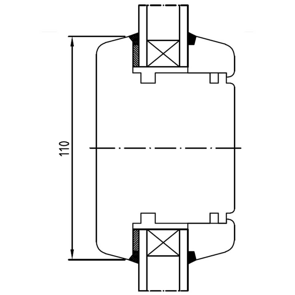
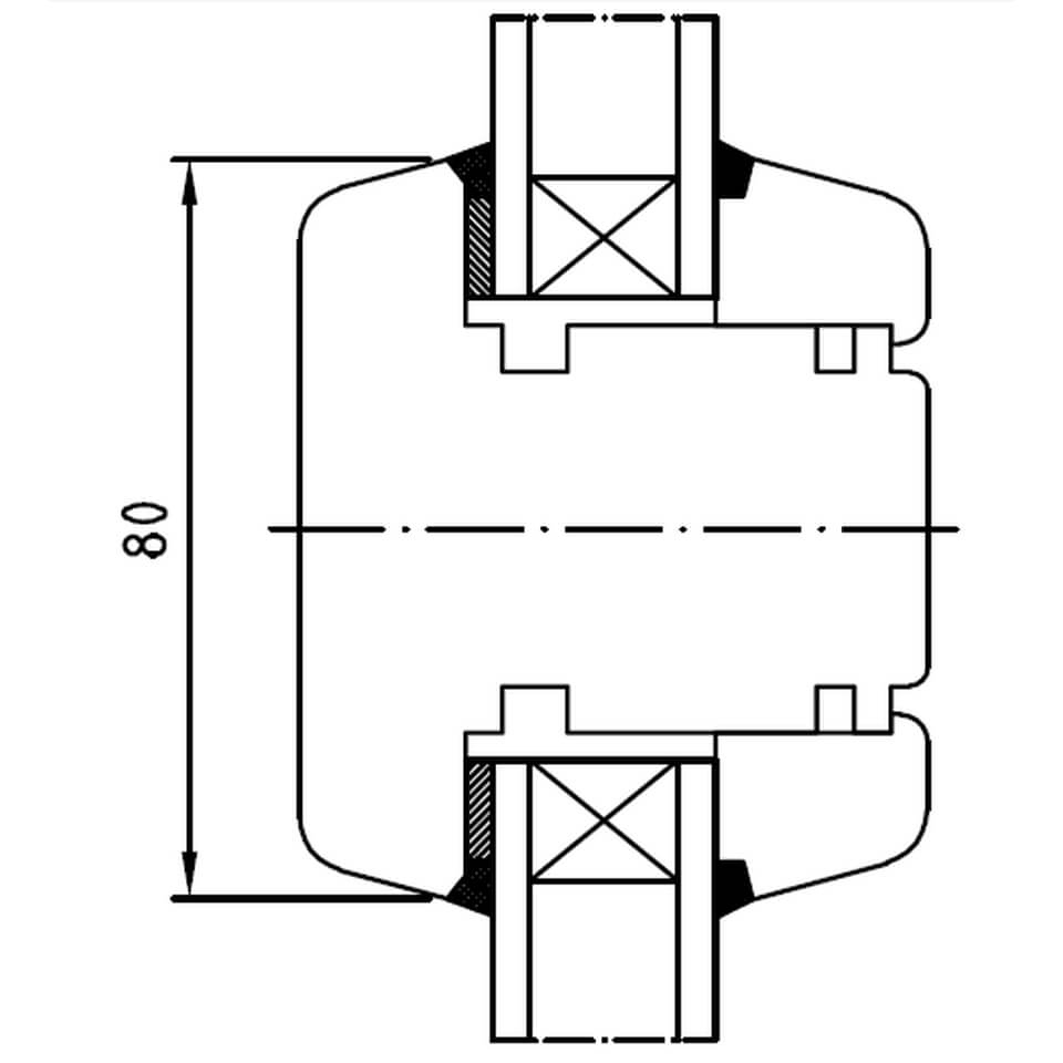
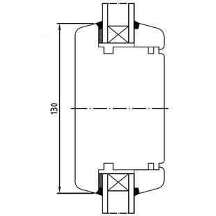
Je nach Profil können Sie zwischen den Breiten 60 mm, 80 mm, 103 mm, 110 mm und 130 mm wählen. Zusätzlich können die Holz Sprossen mit Leisten und Profilen verziert werden.

Zur farblichen Gestaltung werden die glasteilenden Sprossen an die Rahmenfarbe angepasst. Hier kommen Holzlasuren oder deckende Lacke zu Einsatz. Alle Kombinationsmöglichkeiten finden Sie in unserem Online-Konfigurator.

Historischer Schick – Zierleisten und Sprossen

DRUTEX Zierprofile aus Holz
Zierprofile aus Holz

Gerade bei Altbauten, historischen Gebäuden und denkmalgeschützten Fenstern sind sie häufig zu finden: filigrane und formschöne Schnitzereien an den Fensterrahmen. Besonders bei Häusern, die unter Denkmalschutz stehen, ist die Restaurierung jedoch sehr aufwändig und kostspielig.

Eine optimale Lösung sind die sogenannten Zierleisten und -profile aus Holz. Richtig eingesetzt bilden Sie das Schmuckstück eines jeden Holzfensters. Als kostengünstige Alternative haben wir auch Kunststofffenster mit Zierleisten aus Kunststoff im Sortiment.

Die Zierprofile und Kapitelle werden direkt auf dem Kämpfer bzw. der glasteilenden Sprosse angebracht und bilden dort einen festen Verbund. Damit ist auch das Nachrüsten bei bereits bestehenden Fenstern möglich.

Freuen Sie sich über eine ansprechende Auswahl an verschiedenen Profilformen und stimmen Sie anschließend die Farbigkeit von Sprosse und Zierstück aufeinander ab. Das Ergebnis wird Sie und Ihre Nachbarn begeistern!

Gratis levering

Bij een bestelling van 10 ramen of meer in Nederland!

Vraag nu een offerte aan voor houten kozijnen

Das könnte Sie auch interessieren:

Glasteilende Sprossen aus Kunststoff

Glasteilende Sprossen aus Kunststoff

Kunststofffenster mit glasteilenden Sprossen als effektives Designelement.

Glasteilende Sprossen aus PVC

Glasteilende Sprossen aus Alu

Aufgesetzte Sprossen aus Aluminium

Alufenster mit glasteilenden Sprossen für mehr Stabilität.

Aufgesetzte Sprossen aus Alu